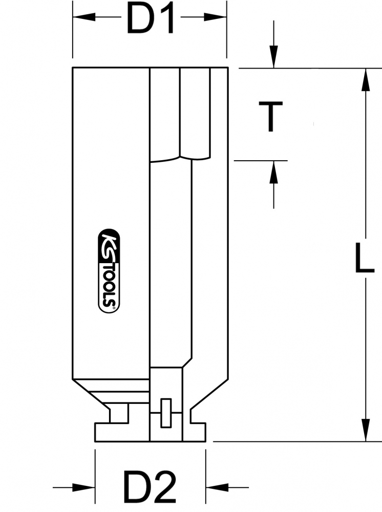
1/2" speciali kardaninio veleno nuimama galinė pavaros galvutė, 34mm
- 12 briaunų
- Apgaubiamasis keturbriaunis pavarinis antgalis pagal DIN 3120 / ISO 1174 su grioveliu rutuliukui
- naudojimui 1/2" smūginiuose gręžtuvuose
- darbui su mašinomis
- fosfatuotas
- chromo molibdeno lydinys
Taikymo sritis / skirtas: Alkūniniai velenai, kardaninio veleno flanšas, purkštukų laikiklis, Mercedes sunkvežimių pavarų dėžė G2/24/26 Mercedes Actros ir t. t.
- Gamintojo numeris: 150.1704
- Ilgis mm: 85 mm




