Vielos žirklės su apsaugine izoliacija, 700mm
- Izoliacija padengta nardinant pagal IEC 60900
- ypatingai lengvai kerpa
- pritaikytos kirpti plieno ir aliuminio lynus, vario ir aliuminio kabelius jų nesuplojant
- kampu pakreiptos kerpamosios briaunos kerpa pavienes lyno gijas
- su keičiama peilio galvute
- Kerpamoji galvutė iš pagerintų savybių specialaus plieno
- naudojama mažesnė jėga
- šviesiai pilka spalva
- labai anglingas specialusis plienas
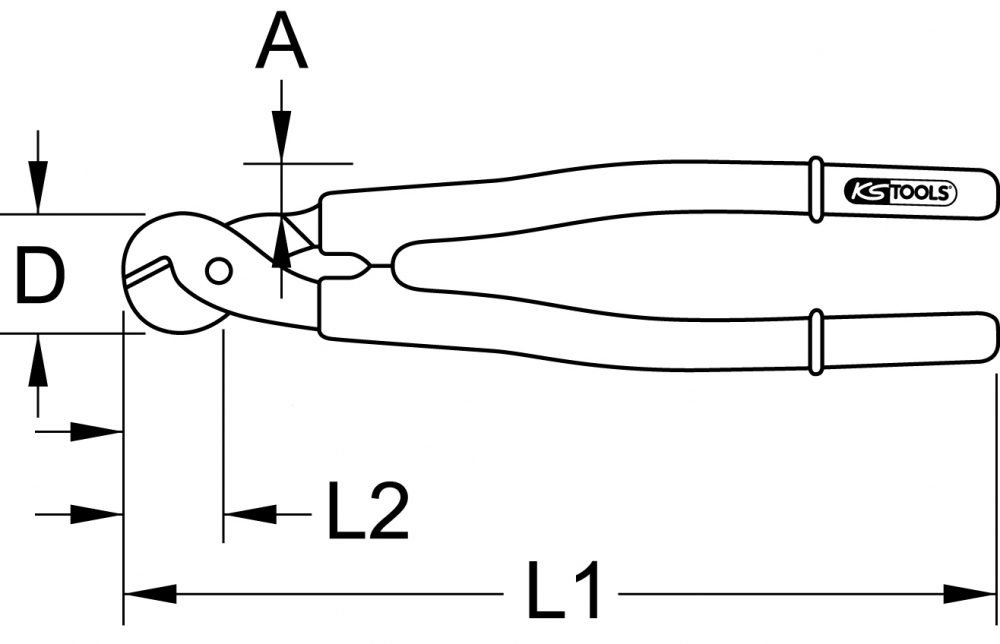
- Bendras ilgis L1 mm: 700.0 mm
- Dalinis ilgis L2 mm: 45.0 mm
- didž. skersmuo mm: 9,0 mm
- Funkcijų atributai 1: VDE
- Galvos aukštis (A): 37 mm
- Galvos plotis D mm: 54.0 mm
- Gamintojo numeris: 117.1101
- Grąžinimas negalimas: Taip
- Izoliacija: Panardinimo izoliacija pagal DIN EN 60900




