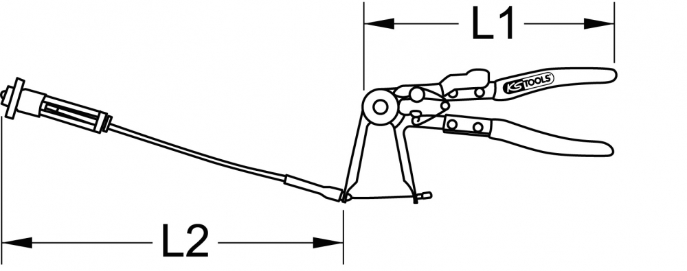
Greitųjų movų degalų žarnelės replės su Boudeno lynu
- kvalifikuotam degalų linijos movų blokavimo panaikinimui
- su užkirtikliu
- visų pirma naudojama su degalų linijų movomis tuo atveju, jeigu blokavimo panaikinimo segmentai turi būti pasiekiami iš šono
- su 650 mm šarvuotu lynu
- kištukinės jungtys, degalų tiekimo linijos ir degalų tiekimo sistemos žarnos nėra pažeidžiamos
- spartus ir lengvas degalų tiekimo sistemos linijų atjungimas
- rankena dengta plastiku
- šviesiai pilka spalva
- labai anglingas specialusis plienas
- Funkcijų atributai 1: Su lanksčiu troseliu
- Gamintojo numeris: 115.1060




